0086-21-33780199 (service time:9:00-21:00)
Customized Bend Extruded Fin Tube

Customized Bend Extruded Fin Tube

Tailored Bimetallic Finned Tubes For Optimized Thermal Transfer

Customized bend extruded fin tubes enhance heat exchanger performance with tailored, bimetallic aluminum fins, offering up to 10 times better thermal transfer and superior corrosion resistance for petrochemical and power applications.

Customized Bend Extruded Fin Tube

Tailored Bimetallic Finned Tubes For Optimized Thermal Transfer

Customized bend extruded fin tubes enhance heat exchanger performance with tailored, bimetallic aluminum fins, offering up to 10 times better thermal transfer and superior corrosion resistance for petrochemical and power applications.

U-bend fin tube
Customized Bend Extruded Fin Tub
Bimetallic Finned Tubes
Heat Exchanger Fins
Thermal Transfer Tubes
Corrosion Resistance

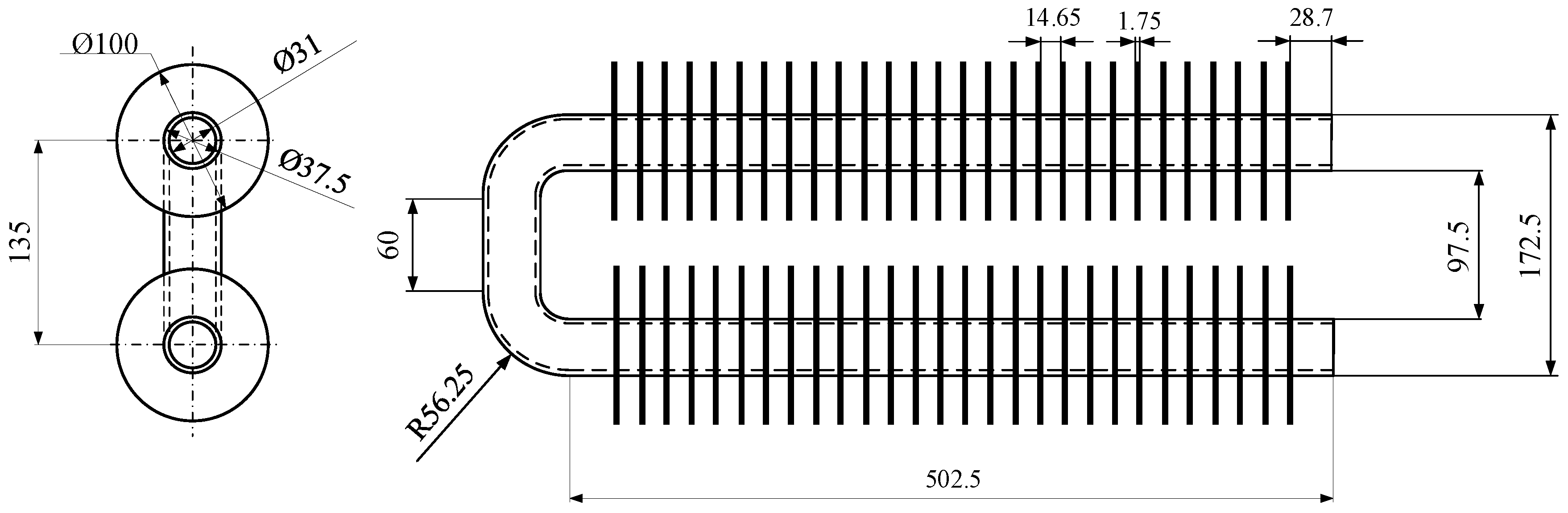
Customized Bend Extruded Fin Tube, also referred to as bimetallic finned tubes, is a high-efficiency heat exchanger fin designed to maximize thermal transfer through extruded aluminum fins formed over a base tube and bent into custom shapes like U-bends, serpentine, or square configurations. The extrusion process creates a seamless bond between the aluminum fins and the base tube (carbon steel, stainless steel, or copper), ensuring excellent thermal conductivity and durability. Conforming to standards like ASTM A179, A213, and ASME SB338, these tubes are ideal for air-cooled heat exchangers, condensers, and economizers in petrochemical, power generation, and refrigeration industries, providing superior corrosion resistance and reliable boiler pipeline protection at temperatures up to 300°C.

The manufacturing process involves extruding an aluminum sleeve over a base tube using a cold plastic deformation technique, where three mandrels with rotating discs form spiral fins with a tight mechanical bond. The bending process, facilitated by state-of-the-art equipment, allows for precise customization into shapes like U-bends, circles, or serpentine layouts to optimize space in compact systems. Base tube outer diameters range from 19mm to 51mm, with fin heights of 8mm to 16mm, fin thicknesses of 0.3mm to 0.5mm, and fin pitches of 8 to 13 fins per inch (FPI). Tube lengths can reach up to 18 meters, with optional coatings like 3LPE or galvanization enhancing corrosion resistance against harsh environments such as salt spray or acidic gases.

Customized Bend Extruded Fin Tubes undergo rigorous testing, including tensile, hydrostatic, and thermal performance evaluations, to comply with ASTM A450/A450M and TEMA standards. The integral fin structure achieves heat transfer efficiency up to 10 times higher than plain tubes, making them perfect for applications requiring high thermal performance in limited spaces, such as air-cooled exchangers in refineries or power plants. The aluminum fins fully encase the base tube, protecting it from atmospheric corrosion and facilitating easy cleaning with steam or high-pressure water, reducing fouling from ash or soot in high-fouling environments like coal-fired plants.

Compared to welded or L-type finned tubes, bimetallic finned tubes offer enhanced durability and thermal efficiency due to their seamless fin-to-tube bond and high aluminum content. The ability to customize bends allows for tailored solutions in complex piping systems, supporting fittings like elbows and tees under ASTM A234 standards. These tubes resist vibration, thermal shock, and pressures up to 10 MPa, ensuring long-term reliability in demanding conditions. Their versatility makes them suitable for applications where space constraints and high corrosion resistance are critical, such as HVAC systems and petrochemical furnaces.

Addressing challenges like pipeline corrosion, thermal inefficiency, and space limitations, Customized Bend Extruded Fin Tubes provide a robust solution for thermal transfer tubes. Their high corrosion resistance, low maintenance, and energy-efficient design make them a preferred choice for engineers seeking reliable boiler pipeline protection in demanding industrial settings. Whether in waste heat recovery systems, air coolers, or refrigeration units, these tubes deliver exceptional performance, cost savings, and longevity.

We can customize U Bending Low Finned Tube according to your drawings

U Bending Low Finned Tube Drawing

U Bending Low Finned Tubes

High-efficiency finned tubes designed for compact heat exchanger applications

U Bending Low Finned Tubes are high-efficiency heat exchange elements. By rolling threaded fins onto the outer surface of U-bent tubes, the heat transfer area is significantly increased. They can be bent into square, serpentine, or custom shapes, making them ideal for confined spaces.

Manufacturing Process
  • Fin rolling on the outer surface of tubes
  • Precision U-bending or serpentine forming
  • Custom fin pitch determined by liquid surface tension and flow conditions
Quality Control
  • Hydrostatic or pneumatic testing
  • Eddy current testing for defect detection
  • Tensile testing for tube-fin bond strength
Delivery Conditions
  • Square cut, burr-free tube ends
  • Dry and blown clean inside
  • Varnished externally at both ends
Features & Advantages
  • Ribbing coefficient 2–3 increases surface area vs. bare tubes
  • Enhanced heat transfer efficiency and coefficient
  • Efficient use of materials with higher output
  • Customizable fin height, thickness, spacing, and materials
  • Durable with excellent thermal conductivity and service life
Fin Tube Application
Fin Tube Application
Fin Tube Application
Fin Tube Application
Fin Tube Application
Fin Tube Application
Fin Tube Application
Fin tube material

Material

We offer you a broad portfolio of materials and can expand our offerings at any time to meet your specific needs regarding thermal conductivity, mechanical properties, or corrosion resistance.

For Aluminum L-Foot finned tubes, the fin material is aluminum, either 1100-0. The tube material is generally carbon steel, stainless steel, or brass; however the tube can be of any material.

For Welded Helical Solid and Welded Helical Serrated finned tubes, the fin and tube materials can be any combination that can be welded together using HIGH FREQUENCY WELDING process.

The materials chosen for a given application are a function of service temperature, corrosive environment, and/or erosive environment. Common tube materials used for our welded product lines include: carbon steel, carbon moly, chrome moly, stainless steel, Inconel, and Incoloy. Common fin materials include: carbon steel; stainless steels of types 304, 310, 316, 321, 409, and 410; Nickel 200, and Inconel.

Carbon steel fins are available on carbon, stainless steel, or copper tube. Please call for a specific size if not listed

We offer you a broad portfolio of materials and can expand our offering at any time to meet your specific needs regarding thermal conductivity, mechanical properties, or corrosion resistance.

  • Base tube: Carbon steel, Stainless steel, Copper, Cupro Nickel, Aluminium, Alloy Steel
  • Fin: Carbon steel, Stainless steel, Copper, Aluminium
  • Rings: Carbon steel, Aluminium, Hot dip galvanizing
Tube Materials and Corresponding Grades
Material Grade
Carbon Steel Tubes A179, A192, SA210 Gr A1/C, A106 Gr B, A333 Gr3/Gr6/Gr8, A334 Gr3/Gr6/Gr8, 09CrCuSb, DIN 17175 St35.8/St45.8, EN 10216 P195/P235/P265, GB/T3087 Gr10/Gr20, GB/T5310 20G/20MnG
Alloy Steel Tubes A209 T1/T1a, A213 T2/T5/T9/T11/T12/T22/T91, A335 P2/P5/P9/P11/P12/P22/P91, EN 10216-2 13CrMo4-5/10CrMo9-10/15NiCuMoNb5-6-4
Stainless Steel Tubes TP304/304L, TP316/TP316L, TP310/310S, TP347/TP347H
Copper Tubes UNS12200/UNS14200/UNS70600, CuNi70/30, CuNi 90/10
Titanium Tubes B338 Gr 2

Our finned tubes

We offer the following range of finned tubes:

G-finned
G fin

The “G” stands for “grooved,” referring to the method of attaching the fin to the tube. The fin strip is wound into a groove and securely locked in place by closing the groove with the base tube metal.
This design guarantees efficient heat transfer, even at high temperatures, with a maximum operating temperature of 450ºC.

L-finned
L fin

The “L” stands for “L-footed,” referring to the shape of the fin and how it’s attached to the base tube. The strip material is precisely deformed under tension to create optimal contact pressure between the fin’s foot and the base tube.
This maximizes heat transfer efficiency and significantly enhances the corrosion protection of the base tube. Maximum operating temperature: 150ºC.

KL-finned
KL fin

A KL fin is a specialized type of finned tube. It combines the benefits of L fins and G fins for enhanced heat transfer and mechanical stability.
After the fin is applied, the fin foot is knurled into the matching knurling on the base tube, strengthening the bond between the fin and tube and improving heat transfer efficiency. Maximum operating temperature: 260ºC.

LL-finned
LL fin

The “LL” stands for “overlapped L-footed fin,” describing the method of attaching the fin to the base tube.
Similar to the L fin, but with the added feature of overlapping the fin foot to fully enclose the base tube, this design offers superior corrosion resistance.
LL fins are often used as a cost-effective alternative to more expensive extruded fins in corrosive environments. Maximum operating temperature: 180ºC.

Crimped-finned
Crimped fin

A crimped fin has a wavy, non-tapered shape that increases surface area and airflow turbulence, enhancing heat transfer efficiency.
The fin is wrapped under tension around the base tube, forming a crimp at the foot, and is then welded to the tube at the strip ends. Maximum operating temperature: 250ºC.

Extruded fin
Extruded fin

Created by extrusion, an extruded fin offers a strong, integrated bond between the fin and the base tube. Formed from a bi-metallic tube, it typically has an aluminum outer layer and an inner tube of various materials.
The fin is rolled from the outer tube, providing excellent heat transfer properties, durability, and corrosion protection. These fins are ideal for demanding thermal applications, with a maximum operating temperature of 280ºC.

Integral low fin
Integral low fin

In an integral low fin, the fins are directly formed from the base tube material, creating a low-profile design.
This fin type increases the tube’s external surface area, improving thermal performance without requiring changes to the heat exchanger’s shell size, flow arrangement, or piping.
Integral low fins are created through direct extrusion from the tube material.
The maximum operating temperature for integral low fin tubes typically ranges between 200°C to 300°C, depending on the material used.

Welded fin
Welded fin

In a welded fin, the fins are attached to the base tube through welding. High-frequency (HF) welded spiral finned tubes are among the most commonly used, made by helically winding the fin strip around the tube and welding it continuously.
This process maintains the tube’s metallurgical integrity while ensuring a strong fin-to-tube bond, ideal for efficient heat transfer and long life.
These tubes are especially suited for fouling applications and environments where high mechanical strength and resistance to deformation are required.

Classification of Finned Tubes

Finned tubes are available in many types and configurations. Below is a detailed classification based on fabrication process, fin geometry, material, and applications.

  • Rolling forming finned tubes (Extruded fin tubes)
  • Welded finned tubes (High-frequency welded, Submerged arc welded)
  • Roll forming finned tubes
  • Set forming finned tubes
  • Casting finned tubes
  • Tension wound finned tubes
  • Inserted finned tubes

  • Square fin tube
  • Round fin tube
  • Spiral fin tube
  • Vertical fin tube (Longitudinal finned tube)
  • Corrugated fin tube
  • Serrated spiral fin tube (Helical serrated)
  • Needle finned tube
  • Plate-fin tube
  • Inner finned tube

  • Single-metal finned tubes: Copper, Aluminum, Carbon steel, Stainless steel, Cast iron/steel
  • Bi-metal composite finned tubes: Base tube with dissimilar fin material

  • Air conditioning finned tubes
  • Air-cooled heat exchanger finned tubes
  • Boiler finned tubes (economizer, water wall, air preheater)
  • Industrial waste heat recovery finned tubes
  • Special-purpose finned tubes
Material certificates with full testing can be provided in compliance with EN10204 3.1 standard.
FAQ

Fin Tubes are used in heat exchangers to enhance thermal transfer by increasing surface area, ideal for air-cooled systems in petrochemical and power industries.

Fin tubes are a type of heat exchanger used in many industries. They are made of aluminum cladded carbon steel and have brazed aluminum fins. The fins increase the surface area of the tubes, which allows them to transfer heat more efficiently. This makes them ideal for applications where high heat transfer rates are required.

Finned tubes are used in applications that involve the transfer of heat from a hot fluid to a colder fluid through a tube wall. They are used in condensers, coolers, and furnaces. The larger surface area means that fewer tubes are needed compared to the use of plain tubes.

The type of finned tube is chosen depending on the specific requirements of each process equipment unit. The fin type and combination of materials are chosen based on the specific requirements of each process equipment unit.

Finned tubes are used in applications where high heat transfer rates are required, such as in power plants and refrigeration systems. The fins increase the surface area of the tube, allowing for more efficient heat transfer between two fluids. This makes them an ideal solution for heat transfer applications where space is limited.

Finned tubes are used in condensers, coolers, and furnaces. The larger surface area means that fewer tubes are needed compared to the use of plain tubes. This can decrease the overall equipment size and can in the long-run decrease the cost of the project.

Finned tube heat exchangers can be used in a broad range of industries including oil & gas, power generation, marine and HVAC&R. They generally use air to cool or heat fluids such as air, water, oil or gas, or they can be used to capture or recover waste heat.

The biggest problem with using a finned tube heat exchanger is with the cleaning and maintenance of the outer surface of the tubes. Because of the fins, mechanical cleaning becomes very difficult and you would have to go for chemical cleaning.

Common materials include carbon steel (ASTM A179), stainless steel (304/316), copper, and aluminum for corrosion resistance and durability.

Types include L-finned (wrap-on), G-finned (embedded), KL-finned, and low-fin, each optimized for specific heat exchanger fins applications.

Fin tubes are a type of heat exchanger that are used in many industries. They have a finned surface, which increases their surface area and allows them to transfer heat more efficiently. Finned tubes are typically used in two-phase heat transfer applications, such as condensation or evaporation.

Finned pipes are generally used for single-phase heat transfer applications. Both finned pipes and finned tubes use fins to increase the surface area for heat transfer.
Finned tubes are used when the heat transfer coefficient on the outside of the tubes is appreciably lower than that on the inside. They can reduce the equipment cost and also equipment sizes.

There are several kinds of fin tubes, such as:

  • Extruded fin tube
  • Crimped spiral fin tube
  • G type embedded fin tube
  • L/KL/LL Foot Fin Tube

High fin tubes are better for applications where the temperature difference between two fluids is high. Low fin tubes are better for applications where the temperature difference is low.

High fin tubes are made of a metal tube surrounded by an aluminum or copper strip. The strip can be applied in different ways, including type L, type KL, type LL, type G (embedded), or type extruded. The higher the fin height, the more surface area and heat transfer capabilities.

Low fin tubes are made of a single material and have a smaller fin of about 1/16th of an inch. They are generally used in liquid to liquid or liquid to gas applications such as coolers, condensers, and chillers.

The profile of the fins has a significant effect on the performance of a finned tube heat exchanger. The larger the fins and the tighter the fin pitch, the more thermal conductivity is achieved.

Finned tubes are a series of tubes with fins on the outside. The fins increase the surface area for heat transfer, which increases the rate of heat exchange. Finned tubes are used in heat exchangers to transfer heat between hot and cold streams. The heat transfer rate depends on the temperature difference between the two fluids and the heat transfer coefficient between each of the fluids.

Finned tube heat exchangers are used in a variety of industries, including:

  • Oil and gas
  • Power generation
  • Marine
  • HVAC&R

Finned tube heat exchangers can be used to:

  • Cool or heat fluids such as air, water, oil, or gas
  • Capture or recover waste heat
  • Finned tubes come in two types: transverse and longitudinal.

Installed in heat exchangers with welded or expanded ends, often in bundles for optimal airflow in air cooled exchangers.

Fin Tubes provide 5-8 times greater surface area, enhancing heat transfer efficiency and reducing system size.

Industries include petrochemical, power generation, HVAC, and marine for thermal transfer tubes in harsh conditions.

Regular cleaning to prevent fouling, with coatings for corrosion resistance; inspect for wear in high-vibration areas.

Fin tubes are widely used in heat exchangers for industries such as petroleum, petrochemical, steel, power generation, and many more. Different fabrication technologies determine their cost, performance, and efficiency. Below are the main types of fin tube production methods.

Crimped / Set Fin Tube

Fabricated with punched single fins manually or mechanically placed on the base tube at a certain spacing.
Manual set: Relies on human force; easy to loosen.
Mechanical set: High pressure, stronger bonding, suitable for larger volumes, but noisy and less safe.
Hydraulic set: Quieter, safer, but higher cost and lower productivity.

High Frequency Welded (HF) Fin Tube

Produced by winding a steel strip around the tube while applying high-frequency current (skin and proximity effects). Heat brings the material to a plastic/melt state, ensuring strong bonding under pressure.
Advantages: - High bonding strength - Superior quality - High automation & efficiency - Widely used in waste heat recovery, power, metallurgy, oil & gas, and petrochemical industries

Extruded Fin Tube

Made by extruding an outer aluminum or copper tube (muff) over a base tube. Rotating discs squeeze the fins into a spiral in one operation.
Advantages: - High production efficiency - Strong fin-to-tube contact - Low material cost - High heat transfer performance
Available as single-metal (copper/aluminum) or bi-metal composite tubes.

Related products

Longitudinal finned tubes
Longitudinal finned tubes

Longitudinal finned tubes boost heat transfer effi...

Low Fin Tube
Low Fin Tube

Low fin tubes enhance heat transfer in compact hea...

L/LL/KL Finned Tube
L/LL/KL Finned Tube

L, ll, and kl finned tubes optimize heat transfer ...

Helical Solid Finned Tubes
Helical Solid Finned Tubes

Helical solid finned tubes enhance heat transfer e...

Laser Welding Finned Tube
Laser Welding Finned Tube

Laser welded finned tubes enhance heat exchanger e...

High fin tube
High fin tube

High fin tubes maximize heat transfer efficiency i...